產品介紹
防爆手拉葫蘆以鋁青銅、鈹青銅作為毛坯,防爆手拉葫蘆外殼采用H62銅合金材料,其轉動齒輪經過高溫熱處理從而達到齒輪據有很高的耐磨性。在作業(yè)中產品相互摩擦撞擊不會產生機械火花,在易燃易爆場所不引爆氣體,有效防止火災事故。
防爆手拉葫蘆工作原理:
通過曳動手鏈鏈條、手鏈輪開始轉動,摩擦片棘輪、制動器座(被壓成一 -體) 共同旋轉,五齒長軸便轉動片齒輪、四齒短軸和花鍵孔齒輪。從而,裝置在花鍵孔齒輪上的起重鏈輪就帶動起重鏈條,平穩(wěn)地提升重物。
防爆手拉葫蘆是一-種使用簡易、攜帶方便的手動起重機械,拉力小自重較輕,便于攜帶、外形美觀,尺寸較小、經久耐用。
防爆手拉葫蘆可與防爆手動單軌小車配套使用組成手動起重運輸小車,防爆手拉葫蘆可廣泛應用于石油、石化、油站、油庫、采氣、化工、軍工、電力、礦山、電子、鐵路、等潛在火患和爆炸的危險環(huán)境中,在作業(yè)中產品相互摩擦撞擊壞會產生機械火花,有效防止火災事故,確保國家財產和人身安全。也是機械制造和機械維修必不可少的專用工具。


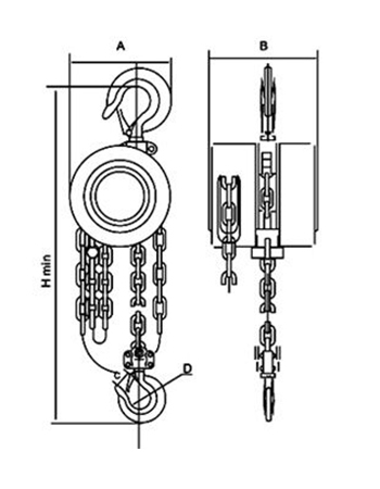
| 型號 | HBSQ-1/2 | HBSQ-1 | HBSQ-1 1/2 | HBSQ-2 | HBSQ-3 | HBSQ-5 | HBSQ-10 | HBSQ-20 | |
| 起重量(噸) | 0.5 | 1 | 1.5 | 2 | 3 | 5 | 10 | 20 | |
| 標準起重高度(米) | 2.5 | 2.5 | 2.5 | 2.5 | 3 | 3 | 3 | 3 | |
| 試驗載荷(噸) | 0.75 | 1.5 | 2.25 | 3 | 4.5 | 7.5 | 12.5 | 25 | |
| 倆鉤間最小距離(毫米) | 270 | 270 | 368 | 444 | 486 | 616 | 700 | 1000 | |
| 滿載時手鏈拉力(牛頓) | 225 | 309 | 343 | 314 | 343 | 383 | 392 | 392 | |
| 起重鏈行數 | 1 | 1 | 1 | 2 | 2 | 2 | 4 | 8 | |
| 起重鏈條圓鋼直徑(毫米) | 6 | 6 | 8 | 6 | 8 | 10 | 10 | 10 | |
| 主要尺寸(毫米) | A | 120 | 142 | 178 | 142 | 178 | 210 | 358 | 580 |
| B | 108 | 122 | 139 | 122 | 139 | 162 | 162 | 189 | |
| C | 24 | 28 | 34 | 34 | 38 | 48 | 64 | 82 | |
| D | 120 | 142 | 178 | 142 | 178 | 210 | 210 | 210 | |
| 凈重(公斤) | 9.5 | 10 | 16 | 14 | 24 | 36 | 68 | 155 | |
| 裝箱毛重(公斤) | 12 | 13 | 20 | 17 | 28 | 45 | 83 | 193 | |
| 裝箱尺寸(長x寬x高)厘米 | 28X21X17 | 30X24X18 | 34X29X20 | 33X25X19 | 38X30X20 | 45X35X24 | 62X50X28 | 70X46X75 | |
|
起重高度每增加1米 增加重量(公斤) |
1.7 | 1.7 | 2.3 | 2.5 | 3.7 | 5.3 | 9.7 |
19.4 |
|